砖坯水分快速测试仪工作原理与制作
本文在此介绍一种电路简单、装调容易、使用方便、测试迅速及准确度较高的砖坯含水量测量仪,特别适合现场测量及抽样检测。
在烧制砖瓦过程中,砖坯含水量是一个需严格控制的参量。按工艺要求,砖坯水分应控制在14%到14.5%之间。目前通常按照烘干法检测,即将现场砖坯取样称重,烘干后称出样品去除水分后的重量,经计算得出泥砖的水分含量。这种检测手段准确度高,但周期太长,一般均需几小时才能得到测试结果。
一、工作原理
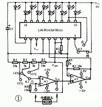
本测试仪是根据砖坯含水量变化时其电阻值也相对改变的原理进行测量的。它可以分辨出0.1%的含水量变化。同时由于测量区段控制得较小,故其精度能达到较高程度。电原理如图1所示。
含水量传感信号由插入砖坯的检测探头获得。含水量越大,探头两端电阻越小;含水量越小,探头电阻越大,探头阻值的变化对应着砖坯含水量变化。图1中核心元件采用能驱动10位LED进行线性模拟显示的单片集成电路LM3914(国产型号为SF3914,上海无线电七厂产品),LM3914具有LED显示位数与其输入电压成良好线性关系的特性,其内部电路如图2所示。LM3914内部有10个电压比较器,与④、⑥脚间的浮接十级高精度分压器相连,它还有一个浮接的直流电压参考源、输入缓冲器和显示模式选择放大器等电路。基准电压⑦、⑧脚间的电压为1.25V,因此可分别在比较器同相端获得125mV、250mV…1250mV的分压。基准电压源最大可提供3~4mA的电流,并且每个LED的驱动电流基本上是参考电压源输出电流的10倍,即图1中每个LED的驱动电流ILED=10×1.25/R5(mA)。


LM3914还具有点/线显示选择功能。当其⑨脚与11脚相连时选择点图显示,这时只有某位序号的LED显示,其序号值对应着输入电压的大小。当LM3914的⑨脚与Vcc端相连时选择线图显示功能,此时有若干位LED显示,其LED显示的数量与输入电压相对应。
为了提高测量分辨率,图1电路采用了分档测试的方法。由于砖坯含水量与其电阻变化并不成严格的比例关系,而是具有较大的非线性,采用分档测试则有利于改善线性,提高准确度。图中LM3914内部基准电压源UREF(1.25V)被R1-R4分压后作为运放A1的同相输入,根据其分压值大小,可确定其含水量测量区域,因此调K1可以选择测量区域。例如当开关K1指向“14%”时,选定好含水量测量区域为14%~15%。图1电路根据制砖设备的实际需要,选定含水量总测量区域为13%-16%。
测量过程可这样分析:假设K1指向14%,这时电路中A1输出电压U01。,将在砖坯含水量为14%时等于零。当砖坯含水量变化为14%+0.1x%,A1、A2按比例转换放大,使LM3914驱动x个LED显示(或第x位LED显示),故这时被测砖坯含水量值便等于LM3914驱动的LED显示值的千分数加上14%,同样可推出,K1指向其它档时,被测值等于档位指示数加上LED显示值的千分数。这样,通过档位转换,使电路在含水量为
13%-16%测量范围内始终能分辨出0.1%的示值变化。图1开关K2为点/线转换开关,可以根据需要,使LED实现点图显示或线图显示。
二、调试与制作
调试时可以烘干实验法测得的结果作为标准值,调整各分压电阻值(R1~R4)使电路测量准确度满足要求。这里以“13%”档为例,调试步骤如下:首先置开关K1刀位于"13%”档处,将传感探头插入含水量准确为13%的泥砖中,小范围调整R1值,使A1输出电压为零,再将探头插入含水量准确为14%的泥砖中,调整R6或R7值,使LM3914的10位LED刚好都显示为止,这时表示测量值为14%,R6或R7调好后,以后各档调试可不用调整该值。
最后按以上步骤依次调校各档,调整各分压电阻值,使测量水份精度满足要求。
为实现高准确度测量,各电阻元件应选用稳定性良好的金属膜电阻或线绕电阻。图1中电路选用了精密运放OP07,如果要求不很高,可选一片LM358双运放。

相关热词:#测试仪
如何通过对称电路的等效变换转化回简单电路
时间:2026-03-07
停电应急照明灯电路设计解析
时间:2026-03-07
基于555定时器的应用电路
时间:2026-03-07
拍手开关电路的原理解析
时间:2026-03-07
555经典电路之基于555控制电路的红外光反射...
时间:2026-03-07
5v太阳能路灯电路图大全(四款5v太阳能路灯...
时间:2026-03-07
双向可控硅调光电路图大全(四款模拟电路设...
时间:2026-03-07
太阳能路灯电路设计与仿真
时间:2026-03-07
30w太阳能路灯设计方案汇总(六款太阳能路灯...
时间:2026-03-07
ne555调光电路图大全(五款模拟电路设计原理...
时间:2026-03-07
彩灯电路
时间:2026-03-05
三相异步电动机原理
时间:2026-03-04
三相异步电动机的七种调速方式
时间:2026-03-04
转角测量电路
时间:2026-03-05
经典的正弦波发生电路
时间:2026-03-05
电动机单线远程正反转控制电路图
时间:2026-03-04
三相异步电动机的拆装详讲
时间:2026-03-04
USB转232电路图
时间:2026-03-04
电度表的工作原理
时间:2026-03-04
电风扇红外遥控器2
时间:2026-03-04