工业级光电隔离:为所有的RS-485接口提供3KV以上的光电隔离,有效的解决了外界雷击浪涌和地电位差带来的传输问题。
短路开路保护:具有RS-485端口故障告警功能,并能自动切掉故障端口,这种设计能够保证当其中连接的RS-485端口设备发生故障时,出现问题的RS-485端口将被隔离,以确保其他网段的设备正常工作。
星形连接:提供更加灵活的RS-485星型总线结构RS-485接口输入、输出端均采用独立驱动方式,改变原有总线的单一式结构为网络结构给工程建设及系统的稳定性带来极大的好处。
数据流向自动控制:通过硬件解决数据流向问题,自动判别和控制数据传输方向。
支持节点:每路RS-485支持128个节点
通信速率:300-115200bps(波特率自适应,不受通信协议限制)
通讯距离:每路延长通讯距离3000m(RS-485)
型号:H-4485(4口光电隔离集线器HUB)
信号输入:兼容1路RS-232/RS-485接口或4路RS-485(每路匀隔离通讯)
信号输出:4路RS-485(每路匀隔离通讯)或1路RS-232/RS-485
传输介质:双绞线或屏蔽线
体积:124×66×23mm
通信方式:异步半双工(双向通讯)
安装方式:RS-485/RS-422星型总线结构
光电隔离:隔离电压2.5KVrms/500VDC绝缘,RS-485提供每线600W的防雷、浪涌、+/-15KVESD保护
适用通信:一切所使用的通讯软件,即插即用。
在实际使用的视频监控系统中,为了完成对各信息点(视频、音频、报警信号)信息的收集,以及对各前端设备(云台、镜头、护罩、灯光等)的控制,我们需要铺设大量的线缆。通过RS485集线器来连接和控制前端设备,这些线缆的布线方式。主要有星型连接和T型连接两种连接方式:
星型连接是电视监控系统中最常用的布线方法,视频线、音频线和大多数报警探头的信号线都采用这种方法。星型连接的优点是施工、维护简单方便;缺点是比较费线。同时前端设备容易失去控制,或者自己移动。T型连接是一点对多点总线控制系统中常用的布线方法。就是说,选择距离最远的两个节点之间的线路作为主干总线,其他节点则通过T型接头挂接到主干线上。而T型接头引出的线路要越短越好,最好不要超过主干线路的1/10,否则有可能会造成通讯故障。其实要防止这个问题的出现,最简单的布线方法就是采用串接,从节点1连接两芯到节点2,再从节点2连接两芯到节点3,以此类推,直到最远的节点,这样就可以保证T型接头引线近似为0。虽然串接可能会增加线路长度,但此时的线路通讯性能最好,通讯速率也能达到最大。T型连接的优点是省线,可以节约成本;缺点是布线和维护比较复杂。在视频监控系统中,大多数主机通过RS485集线器控制前端的解码器,来完成对云台、镜头和其它辅助设备的控制。RS485总线是一种半双工的差分串行总线,传输介质为双绞线,最大传输距离为1200米。
然而,由于视频监控系统中的其它线缆(视频、音频和报警信号)常常采用星型连接,如果解码器的布线一定要用T型连接,有时会使人感到别扭和不方便。实际工程中,绝大部分的主机对解码器的控制是单向的,即采用单向的RS485传输控制信号,这时对布线的要求就可以不那么严格,大量的实际工程证明解码器的星型连接是可行的。当然,这种布线方法在解码器数量和最远距离上有所限制,经验数值是,解码器数量10个以内,最远距离400米以下。工程环境的不同,有可能造成实际数值与经验数值的较大差异。单向RS232-RS485转换模块和单向RS232-RS485转换器,就是为此功能而设计的。需要强调的是,对于必须要双向通信的RS485集线器,布线时只能采用T型连接,此时可以选用双向RS232-RS485转换器。
在中型和大型的电视监控系统中,解码器的数量较多,离主机的距离较远。RS485的布线往往需要采用星型连接和T型连接相结合的方法,才能解决问题。此时,可以选择RS485集线器,以及RS485放大器,通过增加RS485总线数量和对RS485信号的中继驱动,来解决RS485驱动数量有限和驱动距离不够等问题。进行RS485总线布线时,最好采用屏蔽双绞线。这是因为双绞线可以抵消大部分的分布参数,双绞程度越大,抵消能力就越强。采用屏蔽层可更有效防止外界信号干扰。为了达到防雷击的目的,屏蔽双绞线的屏蔽网一端应与解码器的地线(RS232-端,位于RS485B旁)相接;另一端应与系统地线相接。特别对于室外解码器,尤其要注意这一点。
在T型连接系统中,当线路距离较长(500米以上)时,会由于线路阻抗不匹配引起信号反射干扰,可能造成通讯失败。此时需要考虑在最远的两个节点的A、B端上各并接一个120欧的平衡匹配电阻,以保证通讯的正常进行。但是注意不能在其他节点上并接平衡匹配电阻。
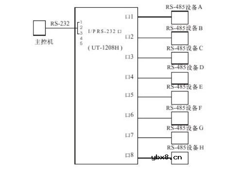
UT-1208H的前面板共有12个指示灯,后面板有1个SPIN接线端子为RS-485.RS-232输入端,8个3PIN接线端子共8个口为光电隔离输出端,加AC插座和DC插座。

UT-1208H的前面板指示灯含义如下:
PWR一一电源指示,正常时为红色
TXD一数据发送指示,正常时为绿色闪亮,表示数据从
INPUT口发送至OUTPUT口1-118
RXD-一数据接收指示,正常时为黄色闪亮,表示数据从
OUTPUT口1-口8发送至INPUT口
E1-E8一口1-口8故障警告指示灯,常亮时表示对应口1-口8
所连接的RS-485接口设备出现短路或信号反接的情况,EI灯与口1对应,E8灯与口8对应,用户可根据该故障警告指示灯判断出故障端口及其相连的故障设备。
RS-232C/RS-485接口定义

1、主控机串(RS-232C)至8个高可靠性的RS-485接口的应用

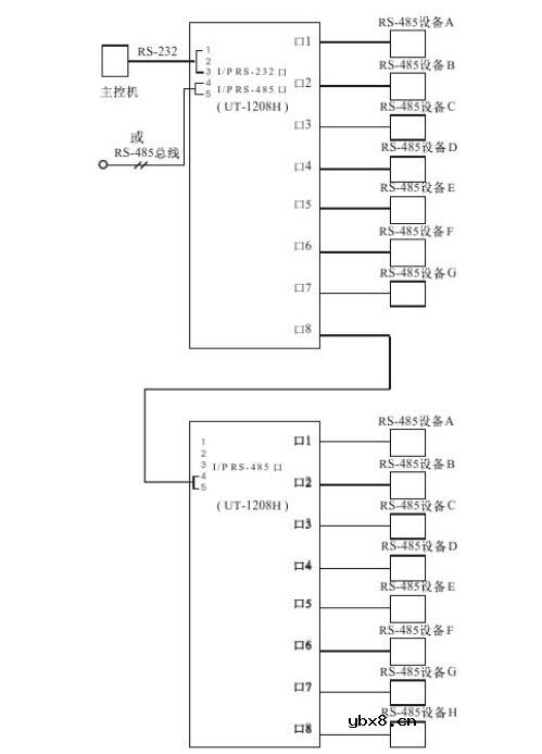
2、已有RS-485总线扩展至8个高可靠性的RS-48S接口的应用,在RS-485总线上可同时并连128个RS-485集线器

3、主控机串口(RS-232C)至多个高可靠性的RS-485接口的应用。或已有RS-485总线扩展至多个高可靠性的RS-485接口的应用,在RS-485总线上可同时并连128个RS-485集线器。

RS-485端口故障警告及保护是解决连接多个RS-485设备,增强其可靠性的有效方法,UT-1208H有八个下位机端口,且每个端[1都具有短路保护功能,并能工作在关断模式。当任一RS-485端口短路只会影响其所在RS-485总线系统,不会影响其他接口连接的RS-485系统的正常工作。用户可以根据故障警告指示灯迅速判斯出故障端口及其他相连的故障设备。
UT-1208H采用外部电源供电,规格为DC9-48VAC100-240V-60/50HZ,用户切莫随使使用其他未经压稳的电源,以免损坏产品。
UT-1208H的所有的RS-485接口都具有1500W的防雷保护,能够有效地抑制闪电(lighting)和ESD,用户使用过程中为了保证通信的安全应可靠接地,避免悬空。
继电器几个典型常用的接线图
时间:2026-03-06
为什么直流继电器要并联二极管呢?
时间:2026-03-06
更换或使用继电器时需要注意哪些事项?
时间:2026-03-06
学习PCB设计需要知道的16个原则
时间:2026-03-06
光伏控制器简介
时间:2026-03-06
PLC现场安装和维护的注意事项介绍
时间:2026-03-06
继电器的工作原理以及驱动电路解析
时间:2026-03-06
三菱PLC功能指令介绍(二)
时间:2026-03-06
三菱PLC辅助继电器和定时器介绍
时间:2026-03-06
HTCC:半导体封装的理想方式
时间:2026-03-06
瞬间抑制二极管(TVS)/瞬间抑制二极管(TVS)是...
时间:2026-03-04
什么是EPIC
时间:2026-03-06
什么是追踪缓存/转接卡?
时间:2026-03-06
什么是Speculative execution/SQRT?
时间:2026-03-06
什么是霍尔传感器
时间:2026-03-05
双向二极管起什么作用?
时间:2026-03-04
什么是联合并行处理二级缓存?
时间:2026-03-06
半导体材料的主要种类有哪些?
时间:2026-03-04
高级封装,高级封装是什么意思
时间:2026-03-04
数字比较器,数字比较器是什么意思
时间:2026-03-04